Manteniendo el número mínimo de unidades

Una vez que hemos elegido las posibles unidades de la red, cumpliendo las normas que nos aseguran el consumo energético óptimo, es necesario también mantener en su valor óptimo el coste de la red. Pueden emplearse muchos criterios para mantener el coste en su valor óptimo; en nuestro caso intentaremos mantener el número de unidades en un valor mínimo. Para ello emplearemos la regla de las marcas. Para marcar una corriente, tenemos que procurar que cada cambiador sea tan grande como pueda. Por tanto, de las dos corrientes que entran en el cambiador, una de las dos quedará completamente agotada. Ésta es la corriente que se marca, ya que en ese momento deja de ser parte del problema. Este proceso debe repetirse sucesivamente hasta agotar (marcar) todas las corrientes.

Figura: Dimensionando las unidades por encima del pinch con la regla de las marcas.
Image fig165

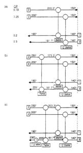
En la figura [*]a se muestras las unidades que tienen sus extremos en el pinch (zona por encima del pinch), dimensionadas según la regla de las marcas. Para completar el diseño tenemos que satisfacer las necesidades energéticas del resto de corrientes (esto es, de las corrientes que todavía no se han marcado). Como no pueden emplearse los servicios de refrigeración por encima del pinch, las corrientes calientes no marcadas deben ponerse en contacto con las corrientes frías del proceso. Por ejemplo, en la figura [*]b se muestra un intercambiador adicional para satisfacer las necesidades de refrigeración residuales de las corriente calientes. En este caso, también se ha maximizado la cantidad de calor intercambiada. Con este intercambiador se han marcado ya todas las corrientes por encima del pinch. Como todavía queda por marcar una corriente fría, es necesario introducir un cambiador de servicios auxiliares (vapor), tal y como se muestra en la figura [*]c.

En cuanto a la red por debajo del pinch, en la figura [*]a se muestran los cambiadores dimensionados siguiendo la regla de las marcas. Si todavía no se ha conseguido agotar todas las corrientes frías, deben calentarse usando corrientes calientes del proceso, ya que por debajo del pinch no pueden emplearse servicios de calefacción. En la figura [*]b se muestra un intercambiador adicional, colocado para satisfacer las necesidades residuales de las corrientes frías. Como ya se han marcado todas las corrientes frías, el enfriamiento residual de las corrientes calientes debe realizarse con servicios auxiliares (agua), tal y como se muestra en la figura [*]c.

Figura: Dimensionando las unidades por debajo del pinch con la regla de las marcas.
Image fig166

El diseño final se muestra en la figura [*]. El número de unidades colocadas siguiendo todas las reglas es de $ 7$ (incluyendo los cambiadores de servicios auxiliares); en el ejemplo [*] se calculó que el número mínimo de unidades para este proceso era de 7. Parece pues que la regla de las marcas nos conduce a sintetizar redes con un número mínimo de unidades.

En efecto, si recordamos la ecuación [*], el número de unidades viene dado por el número de corrientes menos uno. Mediante la regla de las marcas, eliminamos una corriente cada vez que colocamos un intercambiador. Si tenemos $ 3$ corrientes, al colocar un intercambiador nos quedan $ 2$ (una completa, y otra parte de una de las dos anteriores). Como para el diseño de la red se emplean curvas compuestas balanceadas, todo el proceso está en balance energético. Luego colocando otro intercambiador cubrimos todas las necesidades energéticas. Entonces, para $ S $ corrientes en balance energético, siguiendo esta regla colocaremos $ S-1$ unidades.

Figura: El diseño completo de la red de intercambiadores.
Image fig167

2004-05-30